Категории
Кран шаровой латунный TEMPER н/н бабочка
Характеристики
Макс. температура (Т) °С.: до +150°С
Мин. температура (Т) °С.: до -20 °С
Класс герметичности: Класс «А» ГОСТ 9544-2015
Срок службы: 30 лет (при соблюдении правил эксплуатации, требований к составу рабочих сред)
Гарантийный срок: 5 лет
Материалы корпуса: Латунь ЛС59-1В
Присоединение: резьба наружная-наружная
Номинальное давление: 2,5 Мпа, 4,0 Мпа.
ПаспортТип присоединения: резьба наружная / наружная
Форма рукоятки: бабочка.
Краны применяются в качестве запорной арматуры на трубопроводах систем холодного (в том числе питьевого) горячего водоснабжения, отопления, водяного пара, жидких углеводородов, сжатого воздуха, а так же технологических трубопроводах, транспортирующих нефтепродуктов, ГСМ и другие жидкости, не агрессивные к материалам крана.
Модификации
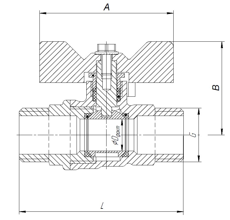
| Артикул | DN | PN | L | А | В | D | G | Масса, г | Коробка / шт | |
|---|---|---|---|---|---|---|---|---|---|---|
| 8815ННБ1240 | 15 | 40 | 56,5 | 52 | 37,5 | 12,5 | 1/2 | 150 | 30 | |
| 8820ННБ3440 | 20 | 40 | 59 | 52 | 39,5 | 15 | 3/4 | 209 | 22 |